本文へスキップ
中村鋲螺株式会社はネジおよびネジ関連部品・工具の専門商社です。
中村鋲螺株式会社
TEL.
075-681-7236
〒601-8103 京都市南区上鳥羽仏現寺町23-2
LR小ねじ
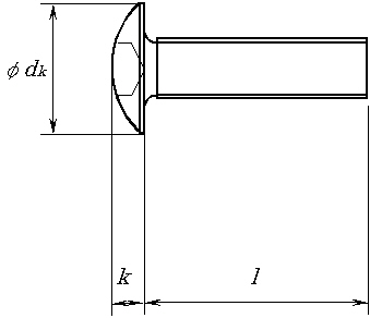
ナベ(LR)
ねじの
呼び
ライン穴
の番号
dk
k
基準
寸法
許容差
基準
寸法
許容差
M3
LR-3
6
0
−0.5
2.1
±0.15
M4
LR-4
7
0
−0.5
2.6
±0.15
M8
LR-8
14
0
−0.8
5.2
±0.2
トラス(LR)
ねじの
呼び
ライン穴
の番号
dk
k
基準
寸法
許容差
基準
寸法
許容差
M4
LR-4
9.4
0
−0.5
2.5
±0.15
このページの先頭へ
ナビゲーション
トップページ
TOP PAGE
商品一覧
GOODS
ネジの豆知識
ABOUTNEJI
会社概要
COMPANY
採用情報
RECRUIT
お問い合わせ
CONTACT US
バナースペース
商品一覧
豆知識
アクセス
中村鋲螺株式会社
〒601-8103
京都市南区上鳥羽仏現寺町23-2
TEL 075-681-7236
FAX 075-672-8083